Steam generator

MIE steam generators and steam cleaners: description, pros and cons, choice

MIE steam generators and steam cleaners: description, pros and cons, choice
Content
  1. Features
  2. Model Overview
  3. How to choose?

The MIE brand specializes in the production of multifunctional steam ironing equipment. It is of excellent quality and modern design, meets international standards. Products are manufactured not only in Italy, but also in factories of other countries. Features, pluses and minuses of steam generators and steam cleaners MIE, as well as the nuances of choice, we consider in the article.

Features

To maintain cleanliness and perfect ironing, modern women often resort to using MIE steam cleaners and steam generators. They are appliances that convert heated water into steam. Under the influence of high temperature, steam acquires a special steaming property, which perfectly smoothes things, kills microbes. MIE's steam technology does a great job ironing. Thanks to the supply of steam under high pressure, fabric of various complexity is ironed in the shortest possible time.

The case of all models is made stainless steel of high quality, which significantly increases the service life. The built-in plug on the steam generator allows you to connect a hose from other accessories, thereby expanding the functionality of the model. For example, if you connect an iron for steaming, you can use it as a simple steamer.

Brand steam generators differ in the type of steam supply, in power, and also in their versatility. The most suitable for use is considered to be a power of 800 watts - it is enough to smooth out any thing or clothing. If you look at the universal model for the home, then its power should be from 2500 watts. Such a device is able to clean dirt from carpets, tiles and sanitary ware.And also perfectly copes with clearing fat from household appliances and furniture in the kitchen, disinfects the house against pests.

Steam cleaners have the same qualities as a steam generator.

There are manual models, floor standing and multi-functional steam systems. Manual are intended for cleaning furniture and sanitary ware, as well as small areas of carpet.

Floor options cope with cleaning the entire apartment. Thanks to the availability of removable nozzles, cleaning is possible even in places that are not very accessible. High steam temperature helps to disinfect and disinfect surfaces.

Model Overview

Consider the popular models of steam ironing equipment MIE.

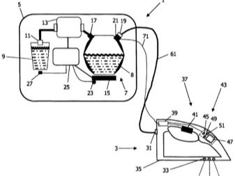
Steam Cleaner MIE Bello with a total power of 1700 watts, it performs several functions simultaneously. The quality of any ironing depends on the penetration depth of the steam. This model provides steam at a pressure of 5.5 bar. A powerful hot stream disinfects and cleans the surface well. They process various types of flooring, as well as furniture and kitchen utensils. For comfortable use and perfect cleaning, MIE has included a wide variety of accessories.

To clean the floor with tile, laminate and linoleum coating mop head. Thanks to the removable cover, which you can put on when cleaning it, the cleaned surface will remain dry and without streaks.

The set also includes devices for vertical steaming. An elongated 2.5 meter hose will allow you to clean the walls and ceiling, reach the top of curtains and baguettes, without taking the entire device from the floor.

For steaming clothes and to prevent accidental flow of drops MIE Bello iron has an anti-drop system. She is in the Teflon sole of the model. Additional heating ensures that the steam does not condense at the outlet. All steam enters the fabric and increases the effectiveness of the smoothing process.

Thanks to the regulator, the temperature of the iron changes. The indicator shows the degree of heating.

The nozzle in the shape of a triangle will allow cleaning in the corners of upholstered furniture, in the passenger compartment and floor coverings. The rectangular nozzle is designed to clean glass and mirror surfaces.

The power of the steam generator itself is 1450 W, the iron - 850 W, the iron-steamer - only 550 watts. The steam boost is 6.5 bar. The volume of the boiler is 1.2 liters. The sole of the iron is made of aluminum alloy and has an area of ​​20x11 cm.

The multifunctional MIE Maxima system, as the name implies, has the maximum capabilities that an ironing system can have. The set of this model includes an ironing board with many additional functions, a powerful steam generator and an iron with a vertical steamer. A board of unique shape has on one side outlines that resemble the shape of a shoulder. Therefore, smoothing shirts has become much easier and more comfortable.

The design is easy to fold and move. Touch control on it makes it easy to control and change the functions of the model. The system is notified of the switching of functions through light and sound prompts. Small wheels help smoothly move the steam station to the desired location.

For the harmonious arrangement of the steam engine, 2 color schemes are provided in the design of the room - blue and the color of golden champagne.

The ironing system itself is located in the upper part. The board has the functions of steam removal and its blowing - this gives some advantages when working with delicate materials. The platform for the sleeves allows you to work with small parts. The cover on the board is removable and has 3 different color options: blue, blue or silver. There is a pedal on the board, with the help of which the height of the structure is regulated from 70 to 100 cm.

This steam station model is equipped with automatic descaling protection. It solves problems of any level of complexity, suitable for large volumes of work.

The model has a power output of 2200 watts. The power of the steam generator itself is 1500 watts, and the iron is 700 watts. The vapor pressure is 6 bar and the steam pressure is 7 bar.

The soleplate is made of aluminum and the soleplate is stainless steel. Operation is possible at temperatures from 140 to 185 ° C. There is an anti-drop system. Automatic shutdown and a set for vertical steaming are provided. The size of the ironing board is 130x40 cm, weight 23.5 kg. The manufacturer gives a 36 month warranty.

How to choose?

Among the wide range of products for steaming, it is difficult to choose the right model for use. When buying, you need to consider such a factor as functionality. Many models have additional nozzles that can be used when cleaning and washing windows, floors, smoothing textiles and disinfecting plumbing.

Dimensions and weight are also of great importance when used. Manual options, as a rule, weigh up to 3 kg and take up little space. Compact models look like an ordinary vacuum cleaner and weigh up to 8 kg. More powerful options are large in size and weight, but equipped with a large number of functions and features.

Power. For home use, it is worth choosing models with this indicator of at least 1000 watts.

The vapor pressure in all models varies from 1 to 4 bar. Optimal would be a purchase with a mark of 3 bars.

For convenient work are provided elongated hoses. The optimal length for use should be at least 2 meters.

The length of the power cord should be maximum.

And the most interesting indicator when buying an ironing system is the price. The most budget models have low power and a minimum of additional features. They cope with their task on a small scale: ironing clothes and steaming simple materials and accessible surfaces. They usually do not have additional nozzles.

More expensive designs have very serious indicators, such as power, additional functions and sets of various nozzles. They easily cope with complex tasks.

For an overview of the MIE Stiro Pro steam generator, see the next video.

Write a comment
Information provided for reference purposes. Do not self-medicate. For health, always consult with a specialist.

Fashion

beauty

Relaxation